不要忽略服务器上的异常进程

 在之前的文章中,我们看到了ADAudit Plus用户行为分析(UBA)功能如何使管理员能够监视用户登录活动以识别受感染的帐户。ADAudit Plus中的UBA还可以帮助您跟踪成员服务器上的任何异常进程,以防御外部威胁。在此文章中,我们将研究企业如何跟踪成员服务器上的进程活动。

不要忽略服务器上的异常进程
跟踪主机上的异常进程

想象一下这样一种情况:员工点击恶意链接并下载恶意软件,该恶意软件会在网络中传播恶意数据并进行加密。而UBA解决方案可以立即在成员服务器上检测到新进程并触发警报,它还会检测到在此过程中修改文件的异常,并向管理员发出警报。检测到攻击的速度越快,管理员越容易减轻影响。

使用ADAudit Plus跟踪主机上的异常进程,应执行以下操作:

登录ADAudit Plus。

单击分析,然后选择异常进程活动。

要查看首次在主机上运行的进程报告,请选择 “服务器上的新进程”。见下图。

不要忽略服务器上的异常进程

主页上虽然显示了异常进程的各种报表,但是大多数管理员在忙时根本没时间查看报表,别担心,我们还有告警功能!默认情况下,UBA告警是通过电子邮件触发的,您也可以设置为SMS或脚本通知。

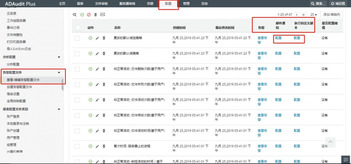
编辑告警配置文件:

选择配置选项卡。

转到警报配置文件>查看/修改警报配置文件,然后选择所需的配置文件。

单击配置修改警报配置文件。您可以选择通过电子邮件,短信或脚本同时接收通知。

点击更新。

配置这些设置后,管理员将开始收到有关主机上任何异常进程的警报。

不要忽略服务器上的异常进程

 

不要忽略服务器上的异常进程

 

ADAudit Plus的UBA引擎会告警管理员成员服务器上运行的任何进程活动,分析引擎将检查当前进程中是否有异常活动。如果主机上有异常进程,则会触发异常进程警报并将其发送给管理员。

免费获得UBA的白皮书,以了解有关UBA如何帮助您防御内部攻击的更多信息。

评论

此博客中的热门博文

通过多因素认证(MFA)确保您的线下远程办公团队的安全性

顶级建议:开发者和ChatGPT如何成为最好的朋友

Active Directory组成员身份报表